Розміри коптильні для гарячого копчення

Як визначитися з розмірами коптильні для гарячого копчення
Зміст статті
Першим і головним питанням, що постане перед покупцем буде питання про габаритах придбаного пристрою. Для того щоб відповісти на нього, потрібно спочатку визначитися — під рибу якого розміру купується пристрій. Природно, якщо господар коптильні – завзятий рибалка, що повертався з риболовлі з многокилограммовым уловом великої риби, то міні-коптильня йому не підійде.
Довідка! Мова йде саме про рибу тому, що для копчення птиці, м'ясних продуктів або сала підійде і середнє пристрій зі стандартними розмірами в 450х250х250 мм.
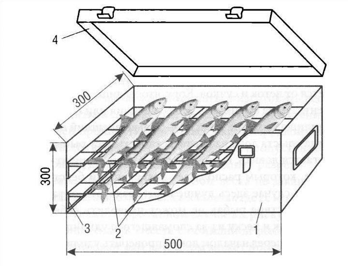
Існує три «базових» параметра розмірів коптилен:
- довжина;
- висота;
- ширина.
Для копчення великої риби відмінно підійдуть пристрої з камерами завдовжки не менше 500 мм. Ширина – параметр не менш важливий, так як для хорошого копчення між тушками риб повинні залишатися невеликі проміжки вільного простору. Пристрої менше 250 мм шириною погано підходять для таких цілей.
Що ж стосується висоти, то для середніх обсягів «сировини» буде цілком достатньо двох ярусів решіток. Для великих рибин висота коптильні повинна бути не менше 300 мм.
Довідка! Ще одним невеликою перевагою широкої коптильні буде те, що продукти у ній можна буде розташувати як уздовж, так і впоперек «бортів» для кращої якості обробки їх димом.
Що ще потрібно враховувати при виборі коптильні
До інших важливих критеріїв вибору коптилен відносяться:
- Товщина стінок. Справа в тому, що чим тонші стінки конструкції, тим швидше вона деформується від перепадів температур, механічних пошкоджень. Зазвичай в цьому випадку просте – чим товще, тим краще. Однак не варто забувати, що товщина стінок безпосередньо позначається на масі пристрою, а отже – і на його мобільності.
- Тип кришки. Більшість фахівців сходяться на думці, що оптимальним буде вибір на користь кришок у формі «будиночка», оскільки вони посередині мають додаткове ребро жорсткості, противостоящее можливої деформації.
- Місце використання. Якщо коптильня придбавається для використання на дачній ділянці, то господареві не потрібно особливо переживати про її габаритах і вазі. Інша справа – якщо пристрій планується використати в походах і на риболовлі, де кожен кілограм зайвої ваги і кожен сантиметр вільного простору в транспорті стають на вагу золота. Якщо ж мова йде про домашньому копченні, то варто віддати перевагу стандартним розмірам пристрої, які були наведені вище.
- Частота копчення. У випадках, якщо коптити продукти користувач збирається не частіше декількох разів на сезон, то можна віддати перевагу бюджетним моделям тонкостінним. Товщина стінок у них зазвичай не перевищує одного міліметра.
Перераховані вище рекомендації допоможуть визначитися з розміром і іншими параметрами коптилен.

